找回密码
 立即注册
查看: 236|回复: 4

苹果屏下 Touch ID 指纹解锁专利获批,iPhone Fold 折叠手机有望首发 ...

[复制链接]

4077

主题

535

回帖

1万

积分

论坛元老

积分
12921
发表于 2026-2-15 17:15:40 | 显示全部楼层 |阅读模式
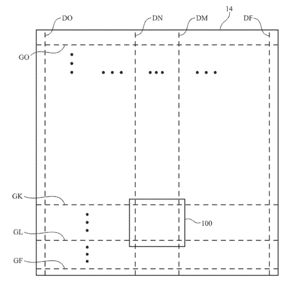
IT之家 2 月 11 日消息,科技媒体 ApplEInsider 昨日(2 月 10 日)发布博文,报道称苹果公司获批名为《具有局部亮度调节功能的显示器》专利,暗示其正探索屏下指纹识别技术,应用范围将覆盖 iPhone Fold、iPad 及 Mac 电脑。7 z- k4 a9 y+ |0 v
IT之家援引专利描述,其核心在于通过控制电路,指挥显示屏上的特定像素子集发光。在用户手指触摸屏幕后,这些像素会像相机的闪光灯一样照亮指纹,反射的光线随后穿过屏幕内的透明窗口,被下方的光传感器阵列捕获。这种闪光仅局限于指纹接触区域,屏幕的其它部分仍能正常显示内容。
$ W8 T$ ?; l: E/ y WEre0emBM9HS01Ue.jpg 7 l. u! A7 A6 s4 D4 O: ^
这项技术可能会率先应用于苹果首款折叠手机 iPhone Fold 上,由于折叠屏机身设计极薄,可能无法容纳 Face ID 组件,因此 Touch ID 成为必选项。1 O9 R, M  K' `% T- x
zY1YXghjJ6YM9715.jpg ' G8 M! g) U2 W/ r
尽管此前有爆料称 iPhone Fold 将效仿 iPad Air 4 采用侧边电源键指纹解锁,但这项专利表明,苹果仍在积极储备屏下指纹技术。! L. q4 L6 @8 P/ x6 U$ Y1 A
该专利于 2025 年 1 月提交申请,且苹果在同年 7 月还申请了 Mac 面部识别专利,这表明苹果正同步推进研发多种生物识别方案。2 }) j4 S6 Y0 Y; S: G
集群智慧云科服专利申请服务

74

主题

2196

回帖

6841

积分

论坛元老

积分
6841
发表于 2026-2-15 17:30:39 | 显示全部楼层
指纹和密码
集群智慧云科服SCI/SSCI/EI期刊发表服务

74

主题

2196

回帖

6841

积分

论坛元老

积分
6841
发表于 2026-2-15 17:46:05 | 显示全部楼层
[拜托]

74

主题

2196

回帖

6841

积分

论坛元老

积分
6841
发表于 2026-2-15 18:00:50 | 显示全部楼层
指纹和密码

74

主题

2196

回帖

6841

积分

论坛元老

积分
6841
发表于 2026-2-15 18:15:23 | 显示全部楼层
[拜托]
您需要登录后才可以回帖 登录 | 立即注册

本版积分规则


快速回复 返回顶部 返回列表